
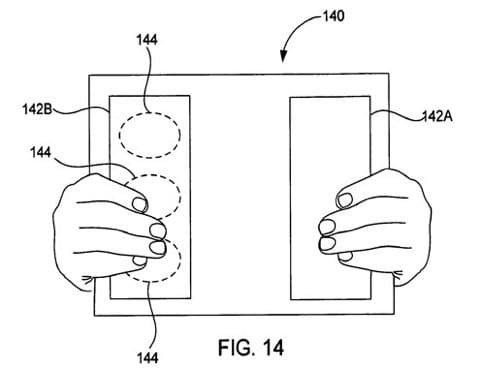
Chi utilizza i dispositivi mobili appoggerà le dita anche sul retro per sostenerne il peso. E’ un gesto inevitabile. Per tale motivo Apple ha pensato che questa inevitabilità può essere sfruttata per l’interazione con i dispositivi. Un brevetto di Cupertino, infatti, mostra un dispositivo con delle sezioni sensibili al tocco sul retro.
L’utente può attivare delle funzioni di interfaccia in base alla sezione di case toccata. Ad esempio si può ruotare lo schermo se si appoggiano le mani su lati diversi del dispositivo. Qualcuno l’ha già soprannominato il brevetto del grattino tecnologico.
[via slashgear]

ma già motorola ha questo brevetto e lo usa