C’è grande attesa per l’iPhone di Apple. Non quello di quest’anno, ma quello del 2017. Per i 10 anni di nascita del telefono, infatti, Apple starebbe preparando una versione di iPhone molto innovativo, partendo dal design. Finalmente dovrebbe apparire l’uso degli schermi OLED e la scomparsa delle cornici, per un display in grado di coprire tutta la superficie.
A tal proposito la società ha brevettato, negli ultimi anni, l’uso di schermi curvi. L’ultimo brevetto arriva oggi con l’uso di un display che ricorda quello usato da Samsung nella versione Edge.
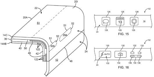
La società di Cupertino intende usare uno display in grado di mostrare cose anche se messo di profilo. C’è addirittura l’uso di pulsanti virtuali posti di lato. Per esempio potrebbe apparire il pulsante per scattare foto, passare dalla modalità registrazione o foto, piccole icone per aprire velocemente le nostre app preferite.
Così facendo si eliminerebbero i pulsanti fisici che, a volte, si rompono richiedendo l’assistenza da parte della società. Se tutto questo sarà vero, l’iPhone del 2017 sarà super.

