Brevetto cavi iMac

Non so se avete avuto mai un iMac. Questo computer all-in-one è di sicuro una delle soluzioni migliori per chi non ha bisogno di mobilità. Per chi lavora essenzialmente dalla stessa postazione a casa o in ufficio. Per preservare la bellezza del design, che negli anni ha migliorato la sua linea, la società ha sempre inserito le porte di ingresso sul retro del computer.

Questo ha sempre obbligato l'utente ad alzarsi per inserire e togliere i cavi dalle porte, per sapere bene dove inserirle. I più pigri vanno avanti a tentativi, tastando prima il retro con i polpastrelli per trovare la porta, per poi cercare di individuare il formato giusto per il cavo e, infine, indovinare il senso si inserimento. Un'operazione con un'esperienza utente bassa.

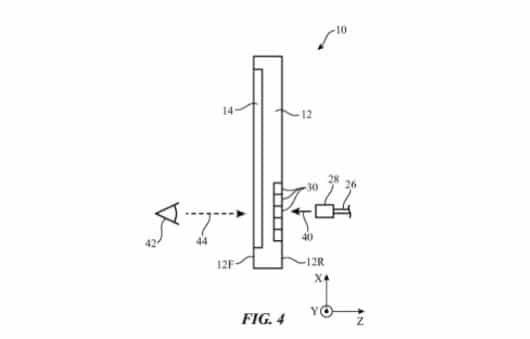
A tal proposito Apple ha brevettato un sistema per aiutare l'utente con queste operazioni. La società vuole inserire dei sensori, o addirittura delle videocamere, in prossimità di ogni porta. Utilizzando il sistema operativo, l'utente riceverà una guida visiva quando un cavo si avvicina ad una delle porte sul retro. In questo modo l'inserimento sarà molto più veloce.

Al momento non sappiamo se la società vuole realmente usare il sistema per le prossime generazioni degli iMac. Io me lo auguro.

Partecipa alla conversazione

1 Comment

Lascia un commento

Cosa ne pensi?