
Siri attualmente è negli iPhone, iPad e Mac. In futuro, però, potrebbe diventare un elemento liquido, in grado di funzionare in molti dispositivi e anche in servizi e pagine web. Apple, per esempio, immagina di inserirlo in un dock.
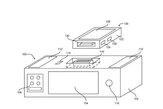
In un recente brevetto si immagina un dock evoluto in grado di rispondere ai comandi vocali. Una sorta di amplificatore della versione attuale. Visto che ora l’iPhone risponde al comando “Hey Siri”, ma solo entro la portata del microfono, con il dock intelligente questa portata si amplia a tutto il salotto, come avviene con HomePod.
In questo modo ricaricando l’iPhone si ottiene anche una sorta di assistente digitale per la stanza, da utilizzare per gestire la demotica o impartire altri comandi.
Tra l’altro il brevetto indica anche vari modo di ricaricare l’iPhone, integrando anche la carica ad induzione. Il telefono potrebbe essere appoggiato sul dock e fornire Siri durante la carica.
Al momento non sappiamo se il dock evoluto si trasformerà in un prodotto reale.
