Pubblicato inBrevetti, iPod
Categoria:Brevetti
Brevetti Apple 2026: ultimi brevetti registrati da Apple che rivelano possibili nuovi prodotti. iPhone pieghevole, Apple Car, Vision Pro e altre innovazioni future.
Pubblicato inRumors, Brevetti
Apple brevetta un adattatore per DVD da 8 cm
Pubblicato inRumors, Brevetti
Apple brevetta l’evoluzione del multi touch
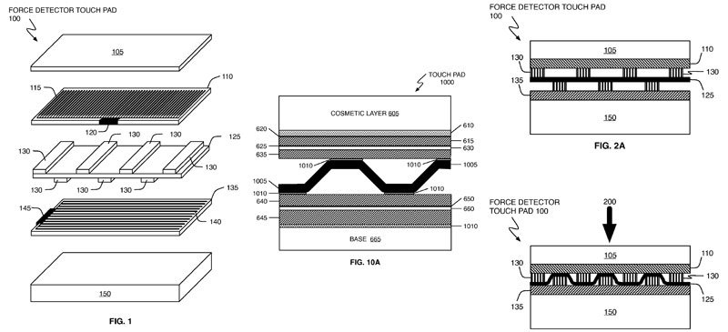
Pubblicato inBrevetti
Apple brevetta il touch screen a pressione
Pubblicato inRumors, Brevetti, iPod
