Con l’introduzione della porta Lightning Apple dichiarò che il cambio di connettore avrebbe apportato a due vantaggi: uno spazio minore nei dispositivi e la possibilità di inserire il cavo in qualsiasi lato, perché l’ingresso funziona con entrambe le facciate del connettore.
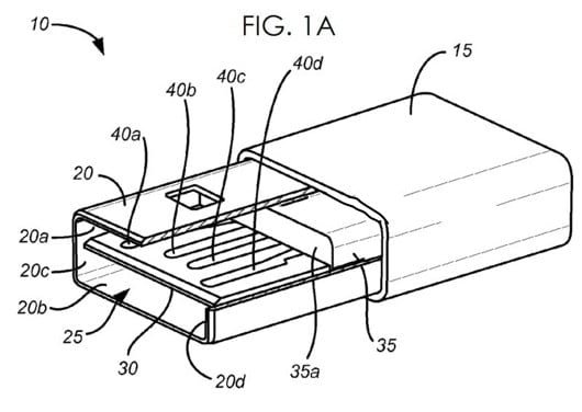
Lo stesso principio è stato raccontato, in un recente brevetto, per la porta USB. In pratica Apple vuole costruire un sistema simile alla porta Lightning, per consentire di usare l’ingresso USB con qualsiasi lato del cavo. Sarebbe un vantaggio, visto che spesso bisogna andare per tentativi quando si inseriscono cavi, pendrive o altre cose nella porta. Soprattutto con gli iMac che presentano gli ingressi USB sul retro.
Per applicare la modifica, però, credo che bisognerebbe cambiare la costruzione di tutti i cavi di nuova produzione, visto che gli ingressi esistenti difficilmente saranno compatibili con il nuovo sistema.


Esattamente con dovrebbe già fare USB 3.1