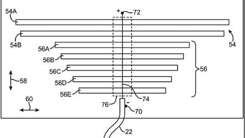
Scopri come Apple risolse l’Antennagate dell’iPhone 4 con una patch di soli 20 byte. La storia completa della soluzione software che modificò la percezione del segnale e salvò il lancio del dispositivo, 15 anni dopo.
Tag:antenna
Pubblicato inMac

Tech e Apple: Notizie, Recensioni e Guide – Melamorsicata.it
Notizie, opinioni e analisi su Apple, iPhone, iPad, Mac e novità tech
Scopri come Apple risolse l’Antennagate dell’iPhone 4 con una patch di soli 20 byte. La storia completa della soluzione software che modificò la percezione del segnale e salvò il lancio del dispositivo, 15 anni dopo.