Apple continua lo sviluppo di soluzioni per il sistema Nike+ iPod Sport Kit. Dopo aver visto la fascia toracica e le scarpe intelligenti, la società ha pensato a un paio di cuffiette tecnologiche.
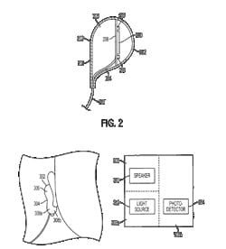
Questo modello speciale contiene 3 sensori: un sensore a raggi infrarossi, una membrana e una luce. Il primo permette di registrare la temperatura corporea per valutare la densità dello sforzo fisico. La membrana, invece, riesce a registrare i battiti cardiaci in base alla pressione del sangue e la luce, a seconda del suo assorbimento nel sangue, permette di calcolare la quantità di ossigeno nel sangue.
Gli auricolari tecnologici offriranno nuovi dati agli sportivi per migliorare le proprie performance. Al momento, però, non sappiamo quando saranno realizzati per la vendita.
[via AppleInsider]


se non costano uno sproposito sono una bella invenzione!
Questa sarebbe una gran invenzione. Vi immaginate tutti i corridori che si allenano con l’iPod seguendo per filo e per segno i dati da lui rilevati? Sarebbero moltissimi….!!
Apple the best!