Inserire delle porte all’interno di un computer portatile è sempre stato un problema. Queste consumano energia, occupano spazio e devono essere integrate all’interno del design. Per tale motivo i recenti computer della Mela hanno soltanto quelle essenziali.
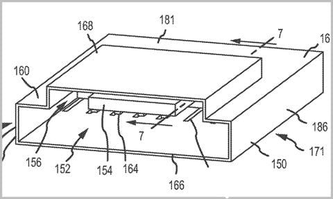
I MacBook Air, per esempio, posseggono due porte USB e il modello da 13 pollici possiede anche una porta per leggere le schede SD. In un recente brevetto della società, però, si vede una sorta di porta ibrida che riesce a unire sia la porta USB e quella della lettura delle schede SD.
Utilizzando questa tecnologia potrebbe essere possibile ampliare il numero di porte per la lettura delle schede e, nello stesso tempo, avere l’ingresso per lo standard USB. Utilizzando questo sistema potremo vedere l’ingresso delle schede SD anche nel modello da 11 pollici.
[via appleinsider]

