brevetto gesture Mac

Ora che il sistema TrueDepth dell’iPhone X è realtà, molto probabilmente lo vedremo applicare anche in altri dispositivi di Apple. Oltre agli iPad Pro previsti per il 2018, probabilmente arriverà anche nei Mac.

Da diversi anni, infatti, Apple sta brevettando l’uso di questa tecnologia nei Mac. A tal proposito abbiamo visto brevetti risalenti al 2011, 2015 e 2016. Di recente la società ha aggiunto un altro brevetto, per ribadire di lavorare ancora su questa tecnologia.

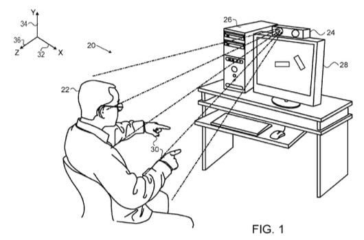
Firmato da Amir Hoffnung e Jonathan Pokrass, ingegneri assunti dopo l’acquisizione di PrimeSense, il documento mostra un sistema che usa un sistema di riconoscimento nei computer per attivare le gesture.

Queste sono gestite in un ambiente in tre dimensioni. Muovendo le mani è possibile muovere gli oggetti sullo schermo, oppure attivare delle funzioni. Il sistema TrueDepth dei Mac, quindi, a poter essere utilizzato per lo sblocco del computer, può funzionare anche per interagire con l’utente.

Il telefono è in standby sulla scrivania, o in tasca, quindi per questo tipo di interazioni non è indicato. I Mac non soffrono di questa modalità e si prestano per questo tipo di operazioni.

Partecipa alla conversazione

1 Comment

  1. Sono anni che ci penso, e non capisco cosa aspetti! Gli utilizzi sarebbero molteplici 🙂

Lascia un commento

Cosa ne pensi?