
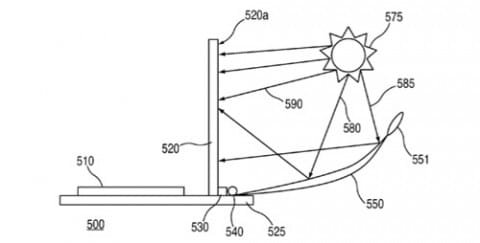
Uno degli elementi del computer che utilizza più energia è lo schermo. Illuminare una superficie da 13,3″ o superiore richiedere molta energia. Per questo motivo Apple intende trovare un sistema per ridurre l’uso artificiale della luce dello schermo a favore delle fonti alternative.
Un brevetto mostra un sistema che gli antichi egizi usavano migliaia di anni fa: un insieme di superfici riflettenti, infatti, concentrano la luce ambientale verso lo schermo per illuminarne la superficie dal retro. Chissà se sarà mai applicato.
[via MacNN]
