Lo scorso ottobre Apple aggiornò le periferiche del computer. Arrivarono il Magic Mouse 2 e il Magic Trackpad 2, con annessa la Magic Keyboard. Un aggiornamento nel design, che introdusse la batteria integrata in tutti i dispositivi.
Nel Magic Trackpad la società inserì il Force Touch, una tecnologia che riprende quelle inserite negli iPhone e Apple Watch. Solo che nell’iPhone si chiama 3D Touch. Questa tecnologia consente di impartire due tipi diversi di pressione sullo schermo, per richiamare delle funzioni senza agire su pulsanti fisici o virtuali.
Il Mac, quindi, mediante il nuovo Magic Trackpad è in grado di gestire questa doppia pressione. Tecnologia inserita di base anche nei trackpad dei recenti MacBook. E per il Magic Mouse?
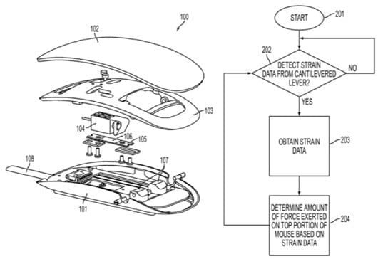
La società ha depositato un brevetto inerente l’integrazione di questo sistema anche nei mouse. Nella prossima generazione, quindi, dovrebbe essere possibile agire su una doppia pressione, come nei trackpad, e utilizzare alcune funzioni velocemente.

