Il sensore di luminosità è stato uno dei primi sensori ad apparire nell’iPhone, poi successivamente arrivato anche nei Mac. Si tratta di una cella in grado di calcolare la quantità di luce ambientale, per regolare la luminosità dello schermo automaticamente.
Apple vuole inserirlo anche negli Apple Watch, ma per farlo, visto le limitate dimensioni del display, dovrebbe rovinare il design per fare spazio ad una sorta di cornice in grado di ospitarlo.
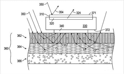
Una soluzione è stata notata in un recente brevetto della società. Anziché utilizzare lo spazio sopra al display, si potrebbe usare il lunotto che appoggia sul polso. L’idea è di realizzare un sensore in grado di calcolare, con un algoritmo, la quantità di luce rimbalzata sulla pelle e ottenere, così, una stima della luce ambientale.
Il sensore, chiamato ALS, potrebbe essere usato anche per un altro scopo. Visto che il suo compito è monitorare la quantità di luce rimbalzata sulla pelle, attraverso un ulteriore algoritmo potrebbe calcolare la quantità di raggi UV nell’ambiente e suggerire all’utente di usare una crema solare.

