
Per anni si è parlato di smartphone modulare. Google ci ha provato con il progetto Ara, ma senza successi. Altri produttori minori hanno provato ad offrire la propria soluzione, ma anche questi senza successi. Al centro del sistema c’è un’idea interessante: la possibilità di cambiare solo alcuni componenti hardware e non tutto lo smartphone.
Percorrendo questa strada Apple sembra pensare ad alcune soluzioni. Non riguardanti l’iPhone ma l’Apple Watch. Lo smartwatch della società potrebbe beneficiare dell’aggiunta di sensori da usare solo quando servono, in modo da non appesantire il design dell’orologio.
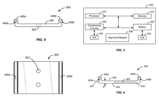
Un recente brevetto, infatti, fa riferimento ad una sorta di aggiunta al lunotto sul retro. In realtà il design mostrato è formato da una superficie piatta e non semisferica. Questo potrebbe anche indicare la presenza di un nuovo design nei piani della società.
I moduli si aggiungono con una sorta di Smart Connector, per abilitare la comunicazione mediante dei magneti. Questi permettono di aggiungere elementi, compresa più memoria e batteria.
Il brevetto è stato depositato nell’ottobre del 2017 e approvato pochi giorni fa.
