• Home
  • Analisi
  • iPhone
  • iPad
  • Apple Watch
  • Mac
  • App Store
  • Info – Chi è Kiro
  • Contatti
  • X
  • YouTube
  • Mastodon
  • Telegram
  • Threads
  • Bluesky
  • LinkedIn
  • Instagram
  • Home
  • Analisi
  • iPhone
  • iPad
  • Apple Watch
  • Mac
  • App Store
  • Info – Chi è Kiro
  • Contatti
  • X
  • YouTube
  • Mastodon
  • Telegram
  • Threads
  • Bluesky
  • LinkedIn
  • Instagram
Vai al contenuto
Tech e Apple: Notizie, Recensioni e Guide – Melamorsicata.it

Tech e Apple: Notizie, Recensioni e Guide – Melamorsicata.it

Notizie, opinioni e analisi su Apple, iPhone, iPad, Mac e novità tech

Tag:brevetto

Una raccolta di brevetti riguardanti Apple e i suoi prodotti e servizi. Scopriamo insieme cosa sta preparando la società per il futuro.

Siri iOS 7
Pubblicato inNews Apple

Apple dovrà pagare 24,9 milioni di $ per un brevetto su Siri

da Kiro21 Aprile 2016
brevetto 3D Touch Magic Mouse
Pubblicato inBrevetti

Apple brevetta il Force Touch per il Magic Mouse

da Kiro7 Aprile 201617 Marzo 2023
brevetto Touch ID Mac 530x234 1
Pubblicato inBrevetti

Un brevetto di Apple per sbloccare il Mac usando il Touch ID dell’iPhone

da Kiro2 Aprile 2016
brevetto cavo Smart Connector
Pubblicato inBrevetti

Apple brevetta un cavo per lo Smart Connector

da Kiro30 Marzo 201618 Dicembre 2020
brevetto LiDAR Apple 530x341 1
Pubblicato inBrevetti

Apple brevetta l’uso dei laser per misurare la distanza tra gli oggetti

da Kiro17 Marzo 2016
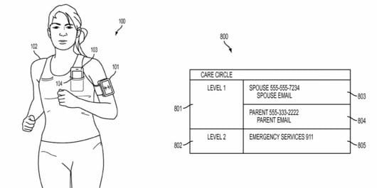
Apple Watch soccorsi 530x265 1
Pubblicato inApple Watch, Brevetti

L’Apple Watch chiamerà i soccorsi se arriva un attacco di cuore

da Kiro11 Marzo 2016
Liquidmetal
Pubblicato inMac

Apple potrebbe usare il Liquidmetal per i pulsanti dell’iPhone

da Kiro9 Marzo 2016

Paginazione degli articoli

Messaggi più recenti 1 … 19 20 21 22 23 … 106 Messaggi più vecchi
© 2026 Contenuto coperto da Creative Commons Powered by Newspack Note legali
  • X
  • YouTube
  • Mastodon
  • Telegram
  • Threads
  • Bluesky
  • LinkedIn
  • Instagram