
In Italia sono oltre 3 milioni le persone affette da diabete. Il monitoraggio costante del glucosio nel sangue, per verificare i valori durante la giornata, è fondamentale. La maggior parte degli strumenti attuali è invasivo. Richiede di effettuare un puntura per prelevare una goccia di sangue. Materiale processato da un dispositivo preposto.
Apple, a tal proposito, sta lavorando per trovare quello che è stato definito “Il Santo Graal del dei rilevatori di glucosio”. La società sta investendo da alcuni anni in questo ambito e pare si stia avvicinando molto alla soluzione. Come rivela un recente brevetto.
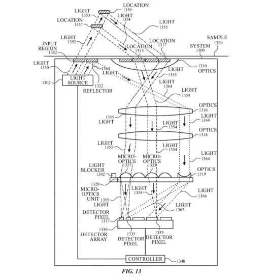
La società ha realizzato un sistema che non richiede punture. Funziona con un sensore luminoso, simile a quello usato per rilevare i battiti cardiaci. Il sensore emette una luce che viene sezionata da un apposito chip. Qui un sistema ottico scinde la luce ricevuta e valuta alcuni parametri.
La luce consente di registrare il suo assorbimento nella pelle, la rifrazione, la creazione di onde corte o lunghe e così via. Tutti dati che sono calibrati e confrontati con i dati generati da diversi livelli di glucosio nel sangue. In questo modo il risultato può rilevare il dato con un basso margine di errore.
Al momento non sappiamo quando vedremo questa soluzione sul mercato.
