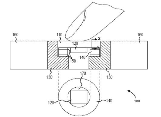
Il 3D Touch è una tecnologia introdotta da Apple nel 2014 negli Apple Watch (con il nome di Force Touch). Negli iPhone arriverà un anno dopo negli iPhone 6s e seguenti. Si tratta di una serie di elettrodi applicati agli schermi. Facendo pressione un po’ di più sullo schermo si può generare quello che nei […]
Tag:3D Touch
Pubblicato iniPhone
Apple vuole uccidere il 3D Touch negli iPhone?
Pubblicato inBrevetti
Apple brevetta il pulsante Home con 3D Touch
Pubblicato iniPhone
