Tag:brevetto
Una raccolta di brevetti riguardanti Apple e i suoi prodotti e servizi. Scopriamo insieme cosa sta preparando la società per il futuro.
Pubblicato inBrevetti
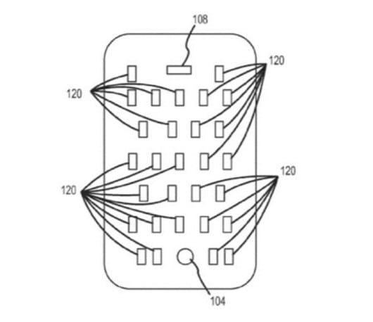
Apple brevetta la tastiera invisibile
Pubblicato inBrevetti, iPhone

Tech e Apple: Notizie, Recensioni e Guide – Melamorsicata.it
Notizie, opinioni e analisi su Apple, iPhone, iPad, Mac e novità tech