Il trackpad è uno degli elementi di interazione più usati nei computer di Apple. Personalmente l’ho preferito anche con il computer desktop, l’iMac, comprando il Magic Trackpad anzichè il Magic Mouse. Nei MacBook è integrato da sempre. Si tratta di una superficie touch che nel tempo ha seguito una propria evoluzione. La sua area è […]
Tag:trackpad
Pubblicato iniPad
Mokibo, la tastiera con touchpad per iPad
Pubblicato inBrevetti
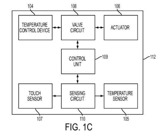
Apple brevetta il trackpad virtuale
Pubblicato inMac
